Infos
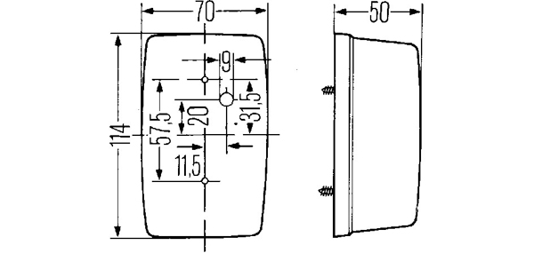
- Lichtscheibe orange.
- 2 Löcher für Befestigungsschrauben.
- Bestückung:
- 12V
- 21W BA 15s 12498
- 24V
- 21W BA 15s 13498
Technische Daten
| Name | Wert |
|---|---|
| % SALE % | Nein |
| Anbau | vorderer |
| Breite (mm) | 70 |
| Farbe(n) | orange |
| Höhe (mm) | 114 |
| Kabellänge (m) | ohne |
| Marke | HELLA |
| Tiefe (mm) | 50 |
| Typ | 2BA 002 324-001 |
| Volt | 12/24 |
Datenblatt und Downloads
Techn. Zeichnungen



