Infos
Schnellspann-Abzughaken zu Abzieher No. 1.04
- Hakenbremse vorhanden: Nein
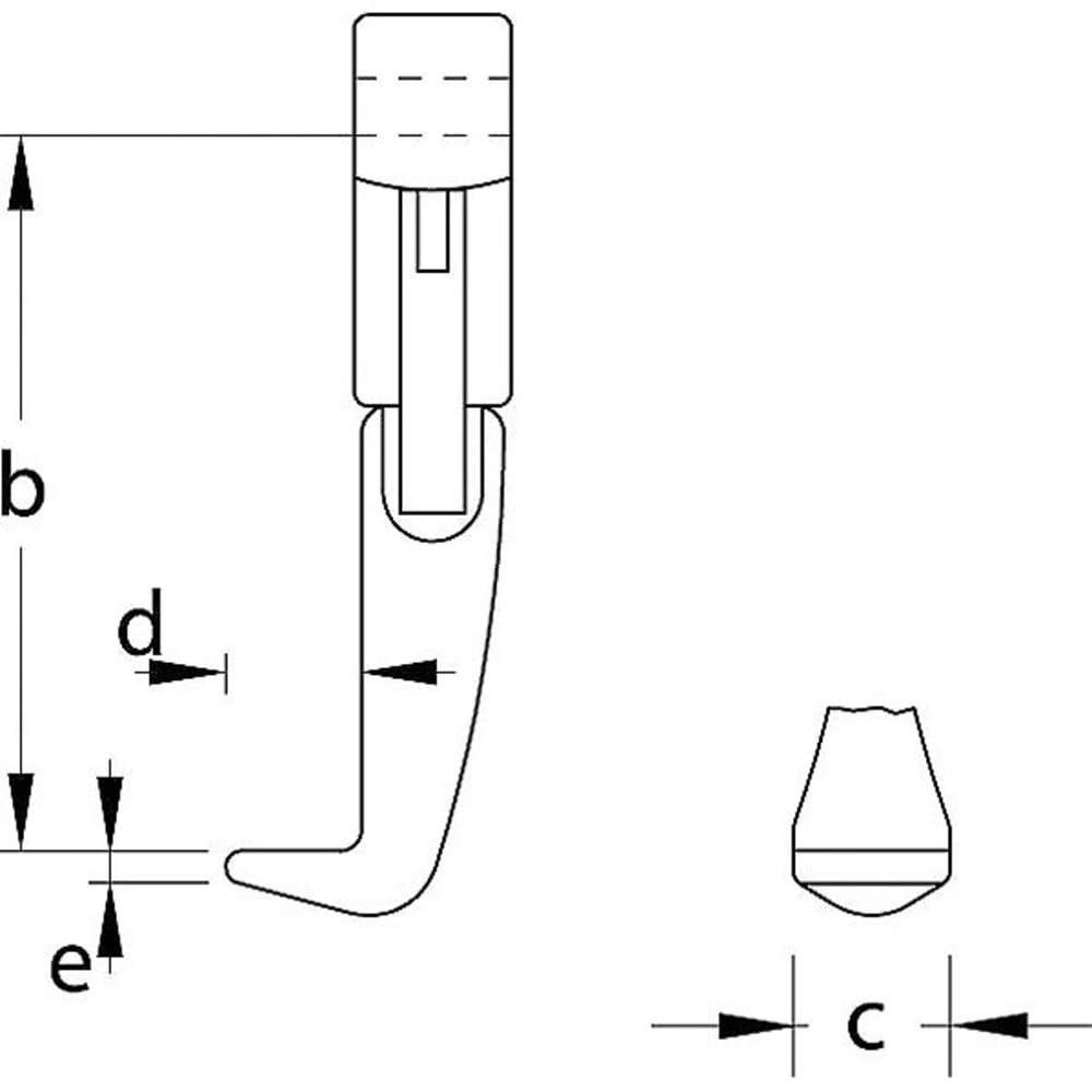
- Hakenfussbreite an der Nutzfläche c1 [mm]: 22 mm
- Hakenfussstärke an der Spitze e1 [mm]: 3 mm
- Hakenfusstiefe nutzbar d2 [mm]: 12 mm
- Inhalt (Anzahl Stück): 1 tlg.
- Netto-Gewicht [g]: 300 g
- Netto-Gewicht [kg]: 0,3 kg
- REACH Registrierung vorhanden: Nein
- Schnellspannhebel vorhanden: Ja
- Spannbügel vorhanden: Nein
- Spanntiefe nutzbar b [mm]: 100 mm
- Spindel Abrutschsicherung: Nein
- umdrehbare Arme vorhanden: Nein
- Ursprungsland: Deutschland
- Zolltarifnummer: 82055980
Technische Daten
| Name | Wert |
|---|---|
| % SALE % | Nein |
| Hakenfussbreite (mm) | 22 |
| Hakenfusstiefe nutzbar (mm) | 12 |
| Marke | GEDORE |
| Spanntiefe nutzbar (mm) | 100 |
| Typ | 104/A-100-TE |



