Infos
- zum Ausdrücken der Kugelzapfen beim Ausbau der Kugelgelenke
- passend für viele PKW + Transporter
- auch für Aluminium-Fahrwerke geeignet
- Spezial-Werkzeugstahl
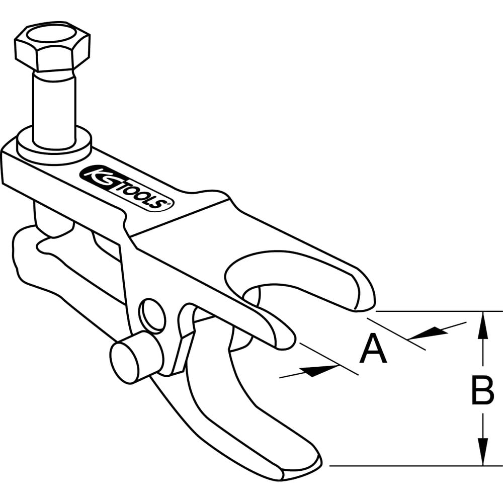
Technische Daten
| Name | Wert |
|---|---|
| % SALE % | Nein |
| Aussensechskant-Antrieb in mm | 17 mm |
| Drehmoment max Nm | 40 Nm |
| Gewicht [g] | 1800 g |
| Herstellernummer | 670.0122 |
| Marke | KS TOOLS |
| Material1 | Spezial-Werkzeugstahl |
| max. Druckkraft KN | 35,0 |
| Max. Druckkraft Nm | 40 |
| Max. Druckkraft t | 3,5 |
| Spanntiefe B in mm | 60-80 mm |
| Spannweite A in mm | 24 mm |
| Spindelgrösse mm | M15x1,5x90 |
| Variantenartikel | 670.0121 |


_sall_aqu_v1.jpg?_a=DATAiZfkZAA0)
