Infos
- mit Drehteller
- funkenfrei
- explosionsgeschützt
- korrosionsbeständig
- verschleissbeständig
- Aluminium-Bronze (Nicht-Eisen-Legierung)
Technische Daten
| Name | Wert |
|---|---|
| % SALE % | Nein |
| Funktions-Attribut 1 | funkenfrei |
| Gewicht [g] | 15500 g |
| Herstellernummer | 963.5006 |
| Marke | KS TOOLS |
| Material1 | Aluminium-Bronze |
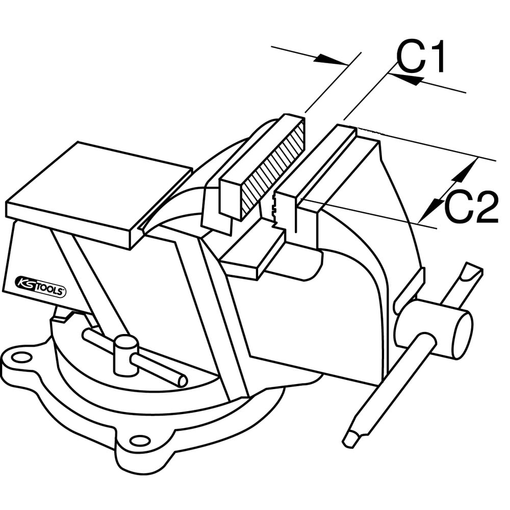
| Spanntiefe max.C2 | 125 mm |
| Spannweite max.C1 | 130 mm |
| Variantenartikel | 963.5005 |
_sall_aing_v1.jpg?_a=DATAiZfkZAA0)
_sall_aqu_v1.jpg?_a=DATAiZfkZAA0)
